Analog Front Ends IP

Welcome to the ultimate Analog Front Ends IP hub! Explore our vast directory of Analog Front Ends IP
All offers in Analog Front Ends IP
Filter
Filter

Login required.

Sign in

Login required.

Sign in

Login required.

Sign in

Compare 67 Analog Front Ends IP from 17 vendors (1 - 10)
  • Complete measurement analog front end (AFE) IP for single phase power metering in TSMC 40ULP
    • Embedded Computation Engine for utility billing applications
    • Low noise Programmable Gain Amplifier (PGA), to reach the best class accuracy with each type of sensors
    • Embedded power management for the best resilience to power supply noise
    Block Diagram -- Complete measurement analog front end (AFE) IP for single phase power metering in TSMC 40ULP
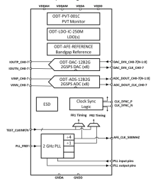
  • Ultra Low-Power High-Performance AFE on 12nm
    • The ODT-AFE-4T4R-12nm is an ultra-high-performance AFE designed in a 12nm CMOS process.
    • The AFE includes 2 IQ Pairs of Tx and Rx for the FR2 band, and combines them with 2 additional IQ Pairs of Tx and Rx for the FR1 band clocked at a lower sample rate.
    Block Diagram -- Ultra Low-Power High-Performance AFE on 12nm
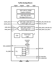
  • Ultra Low-Power High-Performance AFE in 12nm
    • The ODT-AFE-1T1R-12 is an ultra-high-performance AFE designed in a 12nm process.
    • The AFE includes 1 IQ Pairs of Tx and Rx for either the FR1 or FR2 band. This is comprised of two 12-bit 2GSPS ADCs, and two 12-bit 2GSPS DACs.
    • This AFE also includes multiple capless LDOs, a voltage/current reference, and a low jitter 2 GHz PLL

     

    Block Diagram -- Ultra Low-Power High-Performance AFE in 12nm
  • Ultra Low-Power High-Performance AFE on GF 22FDX
    • The ODT-AFE-2T2R-GF22FDX is an ultra-highperformance AFE designed in a Global Foundries 22nm process.
    • The AFE includes two 12-bit, 4GSPS I/Q ADC pairs, two 14-bit, 8GSPS I/Q DAC pairs, four capless LDOs, one Bandgap reference and one temperature sensor and includes an integrated 3rd party PLL.
    Block Diagram -- Ultra Low-Power High-Performance AFE on GF 22FDX
  • 6-bit, 1 GSPS High Performance AFE in 28nm CMOS
    • The ODT-AFE-6B1G-28HPCPT is a highperformance I/Q ADC and I/Q DAC designed in a 28nm CMOS process.
    • The 6-bit, 1.056GSPS I/Q ADC supports input signals up to 400 MHz and features a differential full-scale range of 0.6Vpp and excellent static and dynamic performance.
    • The ADC architecture is optimized to maximize performance while minimizing power and area consumption.
    Block Diagram -- 6-bit, 1 GSPS High Performance AFE in 28nm CMOS
  • Ka-Band (24 − 31GHz) 8-Channel Beamformer
    • NEXUS28Z is a CMOS integrated circuit, implementing highly integrated, mmWave, agile beamforming offering high performance and configurability for target applications.
    • NEXUS28Z delivers a versatile combination of high performance and low power consumption, operating in the frequency range of 24-31GHz. It consists of 8 TX/RX front-ends, which can be split in 2 orthogonal polarizations (4 horizontal and 4 vertical).
    Block Diagram -- Ka-Band (24 − 31GHz) 8-Channel Beamformer
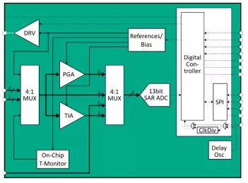
  • Ultra-Low-Power 6-13 Bit 0.5-10 KS/s 10μW Analog-Frontend on XFAB XT018
    • The Analog-Frontend (AFE) IP consists of programmable current and voltage preamplifier followed by a Successive Approximation Register (SAR) architecture ADC using charge-redistribution technique.
    • The ADC IP is configurable regarding resolution (6-13 bit) and sample rate (up to 10kS/s). The preamplifier offers programmable gain from 0.5 to 4. The input voltage range is quasi-rail-to-rail guaranteeing more than +- 1.7 V @ 1.8 V power supply. An optional calibration technique can be applied to compensate degraded mismatch behavior of technology capacitors.
    • The overall power consumption of the AFE IP sums up with 10.5 uW at 1 kHz input signal.
    Block Diagram -- Ultra-Low-Power 6-13 Bit 0.5-10 KS/s 10μW Analog-Frontend on XFAB XT018
  • E-Band Front-End Module 71 GHz to 86 GHz
    • The WEA7186F55 is a front end for wireless microwave transceivers operating in the E-Band
    • Implemented in a ST Micro Silicon Germanium B55 process
    • The WEA7186F55 integrates a LNA path, a Power Amplifier together with Bias and Gain Control blocks.
    Block Diagram -- E-Band Front-End Module 71 GHz to 86 GHz
  • 8-Channel Ultra-Low Power Capacitive Touch Interface
    • The MVCTCH01 ASIC is an ultra-low power and high-sensitivity 8-channel capacitive touch interface that is designed to be easily integrated with capacitive touch pads.
    • Ultra-low power operation is achieved by using a novel capacitive-to-digital converter, making it suitable for battery powered and portable devices.
    Block Diagram -- 8-Channel Ultra-Low Power Capacitive Touch Interface
  • Ultrasound AFE Transceiver Chip for CMUT Transducers
    • The MVUS01 ultrasound transducer interface is the first generation of high-voltage (HV) ultrasound ASICs intended for portable medical imaging probes and other markets.
    • The chip supports pulsing ultrasonic transducers, with excitation voltages of up to 50V, and has high gain and low noise receivers, for increased sensitivity to ultrasonic echoes.
    Block Diagram -- Ultrasound AFE  Transceiver Chip for  CMUT Transducers
×
Semiconductor IP